綴り 紐 結び方 書類





つづりひも 書類を黒いひもでとじるときの簡単な結び方と ひもの種類 わたしたちの転職

つづりひも 書類を黒いひもでとじるときの簡単な結び方と ひもの種類 わたしたちの転職

つづりひも 書類を黒いひもでとじるときの簡単な結び方と ひもの種類 わたしたちの転職

つづりひも 書類を黒いひもでとじるときの簡単な結び方と ひもの種類 わたしたちの転職

つづりひもでの書類の綴じ方 保育者の引き出し

つづりひもでの書類の綴じ方 保育者の引き出し

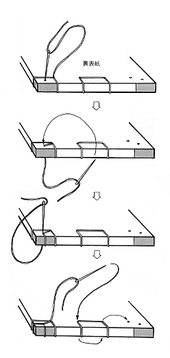
加除の方法 ひもの結び方 ぎょうせいオンラインショップ

加除の方法 ひもの結び方 ぎょうせいオンラインショップ

つづりひも 書類を黒いひもでとじるときの簡単な結び方と ひもの種類 わたしたちの転職

つづりひも 書類を黒いひもでとじるときの簡単な結び方と ひもの種類 わたしたちの転職

加除の方法 ひもの結び方 ぎょうせいオンラインショップ

加除の方法 ひもの結び方 ぎょうせいオンラインショップ

加除の方法 ひもの結び方 ぎょうせいオンラインショップ

水引による書類の結び方 今思うこと

水引による書類の結び方 今思うこと

和綴じの方法 手順 因州和紙 和紙の井上紙店

和綴じの方法 手順 因州和紙 和紙の井上紙店

綴紐ガッチリ

綴紐ガッチリ

コンクール シナリオコンクール提出用 ひもとじの方法 スッキリ解消 Youtube

コンクール シナリオコンクール提出用 ひもとじの方法 スッキリ解消 Youtube

綴紐ガッチリ

綴紐ガッチリ

和綴じの方法 手順 因州和紙 和紙の井上紙店

和綴じの方法 手順 因州和紙 和紙の井上紙店

カウネット とじひもガイド つづり名人 カウネット

カウネット とじひもガイド つづり名人 カウネット

和綴じの方法 手順 因州和紙 和紙の井上紙店

和綴じの方法 手順 因州和紙 和紙の井上紙店

つづりひもでの書類の綴じ方 保育者の引き出し

つづりひもでの書類の綴じ方 保育者の引き出し

組紐の結び方 町田絲店 町田糸店 は 組紐や手芸用の糸の販売を行っております

組紐の結び方 町田絲店 町田糸店 は 組紐や手芸用の糸の販売を行っております

商品の写真 商品内容 表紙の色柄見本 清書用紙 綴じひもの結び方 表紙の色柄見本 濃紺 朱 白 エンジ ピンク 深緑 黄緑 綴じひもの結び方 商品内容 清書用紙 金襴布張り表紙 清書用紙 100年分

商品の写真 商品内容 表紙の色柄見本 清書用紙 綴じひもの結び方 表紙の色柄見本 濃紺 朱 白 エンジ ピンク 深緑 黄緑 綴じひもの結び方 商品内容 清書用紙 金襴布張り表紙 清書用紙 100年分

綴紐ガッチリ

綴紐ガッチリ

和綴じの方法 手順 因州和紙 和紙の井上紙店

和綴じの方法 手順 因州和紙 和紙の井上紙店

コンクール シナリオコンクール提出用 ひもとじの方法 スッキリ解消 Youtube

コンクール シナリオコンクール提出用 ひもとじの方法 スッキリ解消 Youtube

Source : pinterest.com